ES在十几亿的数量级下如何提升查询效率?-转载

洛辰 1年前 ⋅ 10907 阅读

一、ES写入数据

(选择协调节点—>根据文件进行路由转发给对应的节点—>节点的主分片处理请求—>数据同步到副本分片—>返回响应)

  • 客户端选择一个 node 发送请求过去,这个 node 就是 coordinating node(协调节点)。

  • coordinating node 对 document 进行路由,将请求转发给对应的 node(有 primary shard)。

  • 实际的 node 上的 primary shard 处理请求,然后将数据同步到 replica node。

  • coordinating node 如果发现 primary node 和所有 replica node 都搞定之后,就返回响应结果给客户端。

     

二、ES搜索数据过程

es 最强大的是做全文检索,就是比如你有三条数据

java真好玩儿啊java好难学啊j2ee特别牛

你根据 java 关键词来搜索,将包含 java的 document 给搜索出来。es 就会给你返回:java真好玩儿啊,java好难学啊。

(协调节点 —> 分片对应的主分片或者副本分片—>返回文件id给协调节点—>根据文件id去个节点拉取实际数据)

  • 客户端发送请求到一个 coordinate node。

  • 协调节点将搜索请求转发到所有的 shard 对应的 primary shard 或 replica shard,都可以。

  • query phase:每个 shard 将自己的搜索结果(其实就是一些 doc id)返回给协调节点,由协调节点进行数据的合并、排序、分页等操作,产出最终结果。

  • fetch phase:接着由协调节点根据 doc id 去各个节点上拉取实际的 document 数据,最终返回给客户端。

三、ES读取数据

可以通过 doc id 来查询,会根据 doc id 进行 hash,判断出来当时把 doc id 分配到了哪个 shard 上面去,从那个 shard 去查询。(协调节点—对应节点—轮询查询主分片和副本-返回协调节点-返回客户端)

  • 客户端发送请求到任意一个 node,成为 coordinate node。

  • coordinate node 对 doc id 进行哈希路由,将请求转发到对应的 node,此时会使用 round-robin随机轮询算法,在 primary shard 以及其所有 replica 中随机选择一个,让读请求负载均衡。

  • 接收请求的 node 返回 document 给 coordinate node。

  • coordinate node 返回 document 给客户端。

四、ES写数据底层原理

  先写入内存 buffer,在 buffer 里的时候数据是搜索不到的;同时将数据写入 translog 日志文件。

  如果 buffer 快满了,或者到一定时间,就会将内存 buffer 数据 refresh 到一个新的 segment file 中,但是此时数据不是直接进入 segment file 磁盘文件,而是先进入 os cache 。这个过程就是 refresh。

  每隔 1 秒钟,es 将 buffer 中的数据写入一个新的 segment file,每秒钟会产生一个新的磁盘文件 segment file,这个 segment file 中就存储最近 1 秒内 buffer 中写入的数据。

  但是如果 buffer 里面此时没有数据,那当然不会执行 refresh 操作,如果buffer里面有数据,默认 1 秒钟执行一次 refresh 操作,刷入一个新的 segment file 中。

  操作系统里面,磁盘文件其实都有一个东西,叫做 os cache,即操作系统缓存,就是说数据写入磁盘文件之前,会先进入 os cache,先进入操作系统级别的一个内存缓存中去。只要 buffer 中的数据被 refresh 操作刷入 os cache中,这个数据就可以被搜索到了。

  【为什么叫 es 是准实时的?】 NRT,全称 near real-time。默认是每隔 1 秒 refresh 一次的,所以 es 是准实时的,因为写入的数据 1 秒之后才能被看到。可以通过 es 的 restful api 或者 java api,手动执行一次 refresh 操作,就是手动将 buffer 中的数据刷入 os cache中,让数据立马就可以被搜索到。只要数据被输入 os cache 中,buffer 就会被清空了,因为不需要保留 buffer 了,数据在 translog 里面已经持久化到磁盘去一份了。

  重复上面的步骤,新的数据不断进入 buffer 和 translog,不断将 buffer 数据写入一个又一个新的 segment file 中去,每次 refresh 完 buffer 清空,translog保留。随着这个过程推进,translog 会变得越来越大。当 translog 达到一定长度的时候,就会触发 commit 操作。

  commit 操作发生第一步,就是将 buffer 中现有数据 refresh 到 os cache 中去,清空 buffer。然后,将一个 commit point 写入磁盘文件,里面标识着这个 commit point 对应的所有 segment file,同时强行将 os cache 中目前所有的数据都 fsync 到磁盘文件中去。最后清空 现有 translog 日志文件,重启一个 translog,此时 commit 操作完成。

  这个 commit 操作叫做 flush。默认 30 分钟自动执行一次 flush,但如果 translog 过大,也会触发 flush。flush 操作就对应着 commit 的全过程,我们可以通过 es api,手动执行 flush 操作,手动将 os cache 中的数据 fsync 强刷到磁盘上去。

  translog 日志文件的作用是什么?你执行 commit 操作之前,数据要么是停留在 buffer 中,要么是停留在 os cache 中,无论是 buffer 还是 os cache 都是内存,一旦这台机器死了,内存中的数据就全丢了。所以需要将数据对应的操作写入一个专门的日志文件 translog 中,一旦此时机器宕机,再次重启的时候,es 会自动读取 translog 日志文件中的数据,恢复到内存 buffer 和 os cache 中去。

  translog 其实也是先写入 os cache 的,默认每隔 5 秒刷一次到磁盘中去,所以默认情况下,可能有 5 秒的数据会仅仅停留在 buffer 或者 translog 文件的 os cache 中,如果此时机器挂了,会丢失 5 秒钟的数据。但是这样性能比较好,最多丢 5 秒的数据。也可以将 translog 设置成每次写操作必须是直接 fsync 到磁盘,但是性能会差很多。

  实际上你在这里,如果面试官没有问你 es 丢数据的问题,你可以在这里给面试官炫一把,你说,其实 es 第一是准实时的,数据写入 1 秒后可以搜索到;可能会丢失数据的。有 5 秒的数据,停留在 buffer、translog os cache、segment file os cache 中,而不在磁盘上,此时如果宕机,会导致 5 秒的数据丢失。

数据写入 segment file 之后,同时就建立好了倒排索引。

五、删除/更新数据底层原理

  如果是删除操作,commit 的时候会生成一个 .del 文件,里面将某个 doc 标识为 deleted 状态,那么搜索的时候根据 .del 文件就知道这个 doc 是否被删除了。

  如果是更新操作,就是将原来的 doc 标识为 deleted 状态,然后新写入一条数据。

  buffer 每次 refresh 一次,就会产生一个 segment file,所以默认情况下是 1 秒钟一个 segment file,这样下来 segment file 会越来越多,此时会定期执行 merge。每次 merge 的时候,会将多个 segment file 合并成一个,同时这里会将标识为 deleted 的 doc 给物理删除掉,然后将新的 segment file 写入磁盘,这里会写一个 commit point,标识所有新的 segment file,然后打开 segment file 供搜索使用,同时删除旧的 segment file。

六、底层 lucene

  简单来说,lucene 就是一个 jar 包,里面包含了封装好的各种建立倒排索引的算法代码。我们用 Java 开发的时候,引入 lucene jar,然后基于 lucene 的 api 去开发就可以了。通过 lucene,我们可以将已有的数据建立索引,lucene 会在本地磁盘上面,给我们组织索引的数据结构。

七、倒排索引

  在搜索引擎中,每个文档都有一个对应的文档 ID,文档内容被表示为一系列关键词的集合。例如,文档 1 经过分词,提取了 20 个关键词,每个关键词都会记录它在文档中出现的次数和出现位置。

  那么,倒排索引就是关键词到文档 ID 的映射,每个关键词都对应着一系列的文件,这些文件中都出现了关键词。

  举个栗子。

    有以下文档:

DocId Doc
1 谷歌地图之父跳槽 Facebook
2 谷歌地图之父加盟 Facebook
3 谷歌地图创始人拉斯离开谷歌加盟 Facebook
4 谷歌地图之父跳槽 Facebook 与 Wave 项目取消有关
5 谷歌地图之父拉斯加盟社交网站 Facebook

对文档进行分词之后,得到以下倒排索引。

WordId Word DocIds
1 谷歌 1,2,3,4,5
2 地图 1,2,3,4,5
3 之父 1,2,4,5
4 跳槽 1,4
5 Facebook 1,2,3,4,5
6 加盟 2,3,5
7 创始人 3
8 拉斯 3,5
9 离开 3
10 4
.. .. ..

  另外,实用的倒排索引还可以记录更多的信息,比如文档频率信息,表示在文档集合中有多少个文档包含某个单词。

  那么,有了倒排索引,搜索引擎可以很方便地响应用户的查询。比如用户输入查询 Facebook,搜索系统查找倒排索引,从中读出包含这个单词的文档,这些文档就是提供给用户的搜索结果。

七、面试问题

es在数据量很大的情况下(数十亿级别)如何提高查询效率啊?

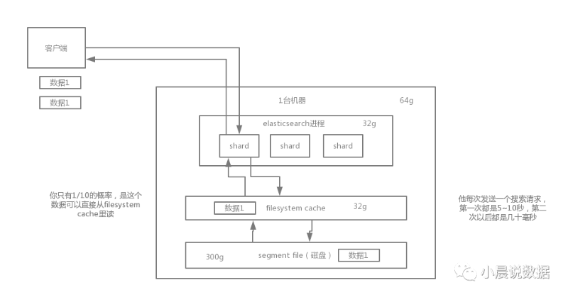
问这个问题,是肯定的,说白了,就是看你有没有实际干过es,因为啥?es说白了其实性能并没有你想象中那么好的。很多时候数据量大了,特别是有几亿条数据的时候,可能你会懵逼的发现,跑个搜索怎么一下5秒~10秒,坑爹了。第一次搜索的时候,是5~10秒,后面反而就快了,可能就几百毫秒。(LRU)

你就很懵,每个用户第一次访问都会比较慢,比较卡么?

所以你要是没玩儿过es,或者就是自己玩玩儿demo,被问到这个问题容易懵逼,显示出你对es确实玩儿的不怎么样

剖析

说实话,es性能优化是没有什么银弹的,啥意思呢?就是不要期待着随手调一个参数,就可以万能的应对所有的性能慢的场景。也许有的场景是你换个参数,或者调整一下语法,就可以搞定,但是绝对不是所有场景都可以这样。

一块一块来分析吧

在这个海量数据的场景下,如何提升es搜索的性能,也是我们之前生产环境实践经验所得

(1)性能优化的杀手锏——filesystem cache

os cache,操作系统的缓存

你往es里写的数据,实际上都写到磁盘文件里去了,磁盘文件里的数据操作系统会自动将里面的数据缓存到os cache里面去

es的搜索引擎严重依赖于底层的filesystem cache,你如果给filesystem cache更多的内存,尽量让内存可以容纳所有的indx segment file索引数据文件,那么你搜索的时候就基本都是走内存的,性能会非常高。

性能差距可以有大,我们之前很多的测试和压测,如果走磁盘一般肯定上秒,搜索性能绝对是秒级别的,1秒,5秒,10秒。但是如果是走filesystem cache,是走纯内存的,那么一般来说性能比走磁盘要高一个数量级,基本上就是毫秒级的,从几毫秒到几百毫秒不等。

之前有个学员,一直在问我,说他的搜索性能,聚合性能,倒排索引,正排索引,磁盘文件,十几秒。。。。

学员的真实案例

比如说,你,es节点有3台机器,每台机器,看起来内存很多,64G,总内存,64 * 3 = 192g

每台机器给es jvm heap是32G,那么剩下来留给filesystem cache的就是每台机器才32g,总共集群里给filesystem cache的就是32 * 3 = 96g内存

我就问他,ok,那么就是你往es集群里写入的数据有多少数据量?

如果你此时,你整个,磁盘上索引数据文件,在3台机器上,一共占用了1T的磁盘容量,你的es数据量是1t,每台机器的数据量是300g

你觉得你的性能能好吗?filesystem cache的内存才100g,十分之一的数据可以放内存,其他的都在磁盘,然后你执行搜索操作,大部分操作都是走磁盘,性能肯定差

当时他们的情况就是这样子,es在测试,弄了3台机器,自己觉得还不错,64G内存的物理机。自以为可以容纳1T的数据量。

归根结底,你要让es性能要好,最佳的情况下,就是你的机器的内存,至少可以容纳你的总数据量的一半

比如说,你一共要在es中存储1T的数据,那么你的多台机器留个filesystem cache的内存加起来综合,至少要到512G,至少半数的情况下,搜索是走内存的,性能一般可以到几秒钟,2秒,3秒,5秒

如果最佳的情况下,我们自己的生产环境实践经验,所以说我们当时的策略,是仅仅在es中就存少量的数据,就是你要用来搜索的那些索引,内存留给filesystem cache的,就100G,那么你就控制在100gb以内,相当于是,你的数据几乎全部走内存来搜索,性能非常之高,一般可以在1秒以内

比如说你现在有一行数据

id name age ....30个字段

但是你现在搜索,只需要根据id name age三个字段来搜索

如果你傻乎乎的往es里写入一行数据所有的字段,就会导致说70%的数据是不用来搜索的,结果硬是占据了es机器上的filesystem cache的空间,单条数据的数据量越大,就会导致filesystem cahce能缓存的数据就越少

仅仅只是写入es中要用来检索的少数几个字段就可以了,比如说,就写入es id name age三个字段就可以了,然后你可以把其他的字段数据存在mysql里面,我们一般是建议用es + hbase的这么一个架构。

hbase的特点是适用于海量数据的在线存储,就是对hbase可以写入海量数据,不要做复杂的搜索,就是做很简单的一些根据id或者范围进行查询的这么一个操作就可以了

从es中根据name和age去搜索,拿到的结果可能就20个doc id,然后根据doc id到hbase里去查询每个doc id对应的完整的数据,给查出来,再返回给前端。

你最好是写入es的数据小于等于,或者是略微大于es的filesystem cache的内存容量

然后你从es检索可能就花费20ms,然后再根据es返回的id去hbase里查询,查20条数据,可能也就耗费个30ms,可能你原来那么玩儿,1T数据都放es,会每次查询都是5~10秒,现在可能性能就会很高,每次查询就是50ms。

elastcisearch减少数据量仅仅放要用于搜索的几个关键字段即可,尽量写入es的数据量跟es机器的filesystem cache是差不多的就可以了;其他不用来检索的数据放hbase里,或者mysql。

所以之前有些学员也是问,我也是跟他们说,尽量在es里,就存储必须用来搜索的数据,比如说你现在有一份数据,有100个字段,其实用来搜索的只有10个字段,建议是将10个字段的数据,存入es,剩下90个字段的数据,可以放mysql,hadoop hbase,都可以

这样的话,es数据量很少,10个字段的数据,都可以放内存,就用来搜索,搜索出来一些id,通过id去mysql,hbase里面去查询明细的数据

(2)数据预热

假如说,哪怕是你就按照上述的方案去做了,es集群中每个机器写入的数据量还是超过了filesystem cache一倍,比如说你写入一台机器60g数据,结果filesystem cache就30g,还是有30g数据留在了磁盘上。

举个例子,就比如说,微博,你可以把一些大v,平时看的人很多的数据给提前你自己后台搞个系统,每隔一会儿,你自己的后台系统去搜索一下热数据,刷到filesystem cache里去,后面用户实际上来看这个热数据的时候,他们就是直接从内存里搜索了,很快。

电商,你可以将平时查看最多的一些商品,比如说iphone 8,热数据提前后台搞个程序,每隔1分钟自己主动访问一次,刷到filesystem cache里去。

对于那些你觉得比较热的,经常会有人访问的数据,最好做一个专门的缓存预热子系统,就是对热数据,每隔一段时间,你就提前访问一下,让数据进入filesystem cache里面去。这样期待下次别人访问的时候,一定性能会好一些。

(3)冷热分离

关于es性能优化,数据拆分,我之前说将大量不搜索的字段,拆分到别的存储中去,这个就是类似于后面我最后要讲的mysql分库分表的垂直拆分。

es可以做类似于mysql的水平拆分,就是说将大量的访问很少,频率很低的数据,单独写一个索引,然后将访问很频繁的热数据单独写一个索引

你最好是将冷数据写入一个索引中,然后热数据写入另外一个索引中,这样可以确保热数据在被预热之后,尽量都让他们留在filesystem os cache里,别让冷数据给冲刷掉。

你看,假设你有6台机器,2个索引,一个放冷数据,一个放热数据,每个索引3个shard

3台机器放热数据index;另外3台机器放冷数据index

然后这样的话,你大量的时候是在访问热数据index,热数据可能就占总数据量的10%,此时数据量很少,几乎全都保留在filesystem cache里面了,就可以确保热数据的访问性能是很高的。

但是对于冷数据而言,是在别的index里的,跟热数据index都不再相同的机器上,大家互相之间都没什么联系了。如果有人访问冷数据,可能大量数据是在磁盘上的,此时性能差点,就10%的人去访问冷数据;90%的人在访问热数据。

(4)document模型设计

有不少同学问我,mysql,有两张表

订单表:

id order_code total_price
1 测试订单 5000

订单条目表:

id order_id goods_id purchase_count price
1 1 1 2 2000
2 1 2 5 200

我在mysql里,都是select * from order join order_item on order.id=order_item.order_id where order.id=1

1 测试订单 5000 1 1 1 2 2000
1 测试订单 5000 2 1 2 5 200

在es里该怎么玩儿,es里面的复杂的关联查询,复杂的查询语法,尽量别用,一旦用了性能一般都不太好

设计es里的数据模型

写入es的时候,搞成两个索引,order索引,orderItem索引

order索引,里面就包含id order_code total_price

orderItem索引,里面写入进去的时候,就完成join操作,id order_code total_price id order_id goods_id purchase_count price

写入es的java系统里,就完成关联,将关联好的数据直接写入es中,搜索的时候,就不需要利用es的搜索语法去完成join来搜索了

document模型设计是非常重要的,很多操作,不要在搜索的时候才想去执行各种复杂的乱七八糟的操作。es能支持的操作就是那么多,不要考虑用es做一些它不好操作的事情。如果真的有那种操作,尽量在document模型设计的时候,写入的时候就完成。另外对于一些太复杂的操作,比如join,nested,parent-child搜索都要尽量避免,性能都很差的。

很多同学在问我,很多复杂的乱七八糟的一些操作,如何执行

两个思路,在搜索/查询的时候,要执行一些业务强相关的特别复杂的操作:

1)在写入数据的时候,就设计好模型,加几个字段,把处理好的数据写入加的字段里面

2)自己用java程序封装,es能做的,用es来做,搜索出来的数据,在java程序里面去做,比如说我们,基于es,用java封装一些特别复杂的操作

(5)分页性能优化

es的分页是较坑的,为啥呢?举个例子吧,假如你每页是10条数据,你现在要查询第100页,实际上是会把每个shard上存储的前1000条数据都查到一个协调节点上,如果你有个5个shard,那么就有5000条数据,接着协调节点对这5000条数据进行一些合并、处理,再获取到最终第100页的10条数据。

分布式的,你要查第100页的10条数据,你是不可能说从5个shard,每个shard就查2条数据?最后到协调节点合并成10条数据?你必须得从每个shard都查1000条数据过来,然后根据你的需求进行排序、筛选等等操作,最后再次分页,拿到里面第100页的数据。

你翻页的时候,翻的越深,每个shard返回的数据就越多,而且协调节点处理的时间越长。非常坑爹。所以用es做分页的时候,你会发现越翻到后面,就越是慢。

我们之前也是遇到过这个问题,用es作分页,前几页就几十毫秒,翻到10页之后,几十页的时候,基本上就要5~10秒才能查出来一页数据了

1)不允许深度分页/默认深度分页性能很惨 

你系统不允许他翻那么深的页,pm,默认翻的越深,性能就越差

2)类似于app里的推荐商品不断下拉出来一页一页的

类似于微博中,下拉刷微博,刷出来一页一页的,你可以用scroll api,自己百度 

scroll会一次性给你生成所有数据的一个快照,然后每次翻页就是通过游标移动,获取下一页下一页这样子,性能会比上面说的那种分页性能也高很多很多

针对这个问题,你可以考虑用scroll来进行处理,scroll的原理实际上是保留一个数据快照,然后在一定时间内,你如果不断的滑动往后翻页的时候,类似于你现在在浏览微博,不断往下刷新翻页。那么就用scroll不断通过游标获取下一页数据,这个性能是很高的,比es实际翻页要好的多的多。

但是唯一的一点就是,这个适合于那种类似微博下拉翻页的,不能随意跳到任何一页的场景。同时这个scroll是要保留一段时间内的数据快照的,你需要确保用户不会持续不断翻页翻几个小时。

无论翻多少页,性能基本上都是毫秒级的

因为scroll api是只能一页一页往后翻的,是不能说,先进入第10页,然后去120页,回到58页,不能随意乱跳页。所以现在很多产品,都是不允许你随意翻页的,app,也有一些网站,做的就是你只能往下拉,一页一页的翻

更多内容请访问:IT源点

相关文章推荐

全部评论: 0

    我有话说: